| | |
 | Gut zu wissen: Hilfreiche Tipps und Tricks aus der Praxis prägnant, und auf den Punkt gebracht für SOLIDWORKS |
| | |
 | SolidWorks Kurs mit IHK-Zertifzierung , ein Kurs (bis zu 100% förderbar mit Bildungsgutschein)
|
|
Autor
|
Thema: Gewinde verschwinden in Zeichnungsableitung (1583 mal gelesen)
|
The Mc 7 Mitglied TZ
 
 Beiträge: 429 Registriert: 25.02.2004 Monitore : 2x LG 23“ 3D Maus : Space Controller Betriebssystem: Windows 7 64 Bit
|
erstellt am: 17. Feb. 2009 10:47 <-- editieren / zitieren --> Unities abgeben:         
Hallo zusammen, ich habe eine Zeichnungsableitung von einen Kühlkörper der einige Gewinde hat. Beim erstellen der Ansich stellt er die Gewinde da. Wenn ich dann Speichere schmeißt er einige Gewinde Raus. Kennt einer das Problem und die Lösung? Gruß Hobi PS. SWX 2008 SP5.0 ------------------  Eine Antwort auf diesen Beitrag verfassen (mit Zitat/Zitat des Beitrags) IP |
HartmutT Mitglied Dipl.-Ing (TU) MB
  
 Beiträge: 790 Registriert: 16.06.2006 SWX 2019 SP5.0 MaxxDB 2021.SP0.02 Linked Jan 18 2021 (64bit)
|
erstellt am: 17. Feb. 2009 10:53 <-- editieren / zitieren --> Unities abgeben:          Nur für The Mc 7
Hi Hobi! Von welcher Seite gebohrt? Mit welchen Bohri-Einstellungen/Optionen? Welche Feature am Kühlkörper-Part beißen sich in welcher Reihenfolge (hier hat bei ähnlichen Probelemen bei uns ein Unterdrücken von anderen Features itterativ Erfolge gebracht)? Grüßle Hartmut ------------------ Hartmut Tylla http://www.schiwa.de/ Eine Antwort auf diesen Beitrag verfassen (mit Zitat/Zitat des Beitrags) IP |
The Mc 7 Mitglied TZ
 
 Beiträge: 429 Registriert: 25.02.2004 Monitore : 2x LG 23“ 3D Maus : Space Controller Betriebssystem: Windows 7 64 Bit
|
erstellt am: 17. Feb. 2009 11:04 <-- editieren / zitieren --> Unities abgeben:         
|
Brödlahans Mitglied

 Beiträge: 94 Registriert: 23.05.2008
|
erstellt am: 17. Feb. 2009 11:33 <-- editieren / zitieren --> Unities abgeben:          Nur für The Mc 7
|
HartmutT Mitglied Dipl.-Ing (TU) MB
  
 Beiträge: 790 Registriert: 16.06.2006 SWX 2019 SP5.0 MaxxDB 2021.SP0.02 Linked Jan 18 2021 (64bit)
|
erstellt am: 17. Feb. 2009 11:47 <-- editieren / zitieren --> Unities abgeben:          Nur für The Mc 7
...das riecht nach dem, was bei uns auch schon auftrat: Ein Feature mit dem Bohri, und zahlreiche Bohrungen an unterschiedlichen Stellen mit unterschiedlichen Materialstärken und zu alledem noch 3-dimensionalen Austritten durch winklige Fräsungen: Da sind bei uns die Gewindebohrungsbeschreibungen auch schon mal instabil. Setz mal nur jeweils ein Punkt pro Bohri-Feature. Reagiert die Zeichnung dann auch so wie vorher? H. ------------------ Hartmut Tylla http://www.schiwa.de/ Eine Antwort auf diesen Beitrag verfassen (mit Zitat/Zitat des Beitrags) IP |
Robert Hess Ehrenmitglied V.I.P. h.c. Maschinenbautechniker

 Beiträge: 2533 Registriert: 16.06.2000 Dell Precision M6800, 16 GB RAM, nVidia Quadro K4100 - 4 GB SolidWorks 2015 - SP5, SW2016 - SP2 SWX seit 1998
|
erstellt am: 17. Feb. 2009 11:50 <-- editieren / zitieren --> Unities abgeben:          Nur für The Mc 7
|
The Mc 7 Mitglied TZ
 
 Beiträge: 429 Registriert: 25.02.2004 Monitore : 2x LG 23“ 3D Maus : Space Controller Betriebssystem: Windows 7 64 Bit
|
erstellt am: 17. Feb. 2009 13:53 <-- editieren / zitieren --> Unities abgeben:         
Für alle die eine Lösung wissen wollen!! Das Problem ist bei SWX schon bekannt! Die Lösung ist man muß einfach die Gewindedarsteööungsqualität von Hohe Qualität auf Entwurfsqualität ändern. Dann ist es wieder da. ------------------  Eine Antwort auf diesen Beitrag verfassen (mit Zitat/Zitat des Beitrags) IP |

| |
HartmutT Mitglied Dipl.-Ing (TU) MB
  
 Beiträge: 790 Registriert: 16.06.2006 SWX 2019 SP5.0 MaxxDB 2021.SP0.02 Linked Jan 18 2021 (64bit)
|
erstellt am: 17. Feb. 2009 17:05 <-- editieren / zitieren --> Unities abgeben:          Nur für The Mc 7
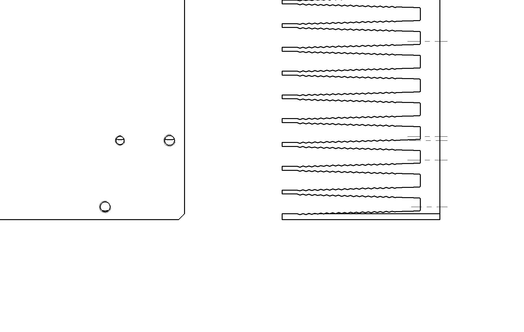
Mc7, besteht da ne Verwechslung? bei SWX2007SP5.0 hatten wir dieses von der Hotline bestätigte Phänomen. Bei SWX2008SP5.0 klappt das mit Hohe Quali, siehe Bild. Grüßle H. ------------------ Hartmut Tylla http://www.schiwa.de/ Eine Antwort auf diesen Beitrag verfassen (mit Zitat/Zitat des Beitrags) IP |