| | |
 | Gut zu wissen: Hilfreiche Tipps und Tricks aus der Praxis prägnant, und auf den Punkt gebracht für SOLIDWORKS |
| | |
 | SolidWorks Kurs mit IHK-Zertifzierung , ein Kurs (bis zu 100% förderbar mit Bildungsgutschein)
|
|
Autor
|
Thema: Rohrschlange (928 mal gelesen)
|
Jeans Mitglied Sachbearbeiter

 Beiträge: 59 Registriert: 13.11.2002 P 833 dual 2GB RAM, Matrox Millennium G450 Win2000 SP4; SW2004 SP3 SW2005 SP0
|
erstellt am: 03. Mrz. 2003 10:21 <-- editieren / zitieren --> Unities abgeben:         
Hallo, ich sollte ein 3D-Modell dieser Schlange erstellen, breche mir doch dabei die Finger. Wie gehe ich dieses Problem an besten an?? Bisher mußte ich (Einzel Anwender) nur einfache Austragungen erzeugen und habe keinen Ansatz für dieses Modell. Über Anregungen würde ich mich sehr freuen. Gruß Jens Eine Antwort auf diesen Beitrag verfassen (mit Zitat/Zitat des Beitrags) IP |
Ex-Mitglied
|
erstellt am: 03. Mrz. 2003 10:47 <-- editieren / zitieren -->
Hallo Jens so was ähnliches machte ich mit 3d Skizzen. ------------------ Viele Grüße wera |
s.giehl Mitglied Ingenieur Maschinenbau/Fahrzeugtechnik
  
 Beiträge: 698 Registriert: 10.07.2002 THINK DEEP
|
erstellt am: 03. Mrz. 2003 11:26 <-- editieren / zitieren --> Unities abgeben:          Nur für Jeans
In Deinem Fall handelt es sich ja um eine Baugruppe. Die Biegungen der Rohre sollten wahrscheinlich einachsige Biegungen sein. Deßhalb würde ich innerhalb einer Baugruppe eine 3D-Skizze erstellen, wo der gesamte Verlauf der Schlange abgebildet ist. Danach würde ich die geraden Rohre einfügen. Danach die Rohrbögen 3 und 4. Als Verknüpfung würde ich dann die unteren Enden der geraden Rohre deckungsgleich und konzentrisch mit den Anfängen der Rohrbögen wählen. Die Ebene der Skizze für den Rohrbogen würde ich deckungsgleich mit einem Punkt der 3D-Skizze der Baugruppe verknüpfen. Danach würde ich die Skizze des Rohrbogens bearbeiten und den Radius auf konzentrisch und gleich mit dem Radius der 3D-Skizze beziehen. Nach dem gleichen Schema würde ich dann den Rest bearbeiten. Sicherlich gibt es auch andere Möglichkeiten. Hoffe es hilft. ------------------ Stefan Giehl TDG Technische Dienstverlening Giehl
Eine Antwort auf diesen Beitrag verfassen (mit Zitat/Zitat des Beitrags) IP |
Ralf Tide Moderator -
       

 Beiträge: 4999 Registriert: 06.08.2001 Sehr seltsame Dinge passiern <Klaus Lage - Toy Story> .-)
|
erstellt am: 03. Mrz. 2003 11:43 <-- editieren / zitieren --> Unities abgeben:          Nur für Jeans
Hallo Jens, noch eine weitere Möglichkeit: Erst mit Layoutskizzen arbeiten (Vorderansicht, Draufsicht). Dann entsprechende Segment-Skizzen erzeugen. Diese Segmente aus den verschiedenen Ansichten aufeinander projizieren (Einfügen->Kurve->projiziert...) Anschließend aneinanderfügen (Einfügen->Kurve->zusammengsetzt...) Die zusammengestzte Kurve als Austragungspfad verwenden Viel Spaß beim modellieren - sieht wie 'ne interessante Aufgabe aus. Bis demnäx Ralf ------------------ Eine Antwort auf diesen Beitrag verfassen (mit Zitat/Zitat des Beitrags) IP |
Jeans Mitglied Sachbearbeiter

 Beiträge: 59 Registriert: 13.11.2002 P 833 dual 2GB RAM, Matrox Millennium G450 Win2000 SP4; SW2004 SP3 SW2005 SP0
|
erstellt am: 03. Mrz. 2003 12:52 <-- editieren / zitieren --> Unities abgeben:         
|
Dirk Wollborn Mitglied Entwicklungskonstrukteur
 
 Beiträge: 379 Registriert: 31.07.2001
|
erstellt am: 03. Mrz. 2003 14:21 <-- editieren / zitieren --> Unities abgeben:          Nur für Jeans
|
Jeans Mitglied Sachbearbeiter

 Beiträge: 59 Registriert: 13.11.2002 P 833 dual 2GB RAM, Matrox Millennium G450 Win2000 SP4; SW2004 SP3 SW2005 SP0
|
erstellt am: 03. Mrz. 2003 14:34 <-- editieren / zitieren --> Unities abgeben:         
|
Jeans Mitglied Sachbearbeiter

 Beiträge: 59 Registriert: 13.11.2002 P 833 dual 2GB RAM, Matrox Millennium G450 Win2000 SP4; SW2004 SP3 SW2005 SP0
|
erstellt am: 03. Mrz. 2003 14:47 <-- editieren / zitieren --> Unities abgeben:         
|
Ralf Tide Moderator -
       

 Beiträge: 4999 Registriert: 06.08.2001 Sehr seltsame Dinge passiern <Klaus Lage - Toy Story> .-)
|
erstellt am: 03. Mrz. 2003 14:48 <-- editieren / zitieren --> Unities abgeben:          Nur für Jeans
|
Jeans Mitglied Sachbearbeiter

 Beiträge: 59 Registriert: 13.11.2002 P 833 dual 2GB RAM, Matrox Millennium G450 Win2000 SP4; SW2004 SP3 SW2005 SP0
|
erstellt am: 03. Mrz. 2003 14:53 <-- editieren / zitieren --> Unities abgeben:         
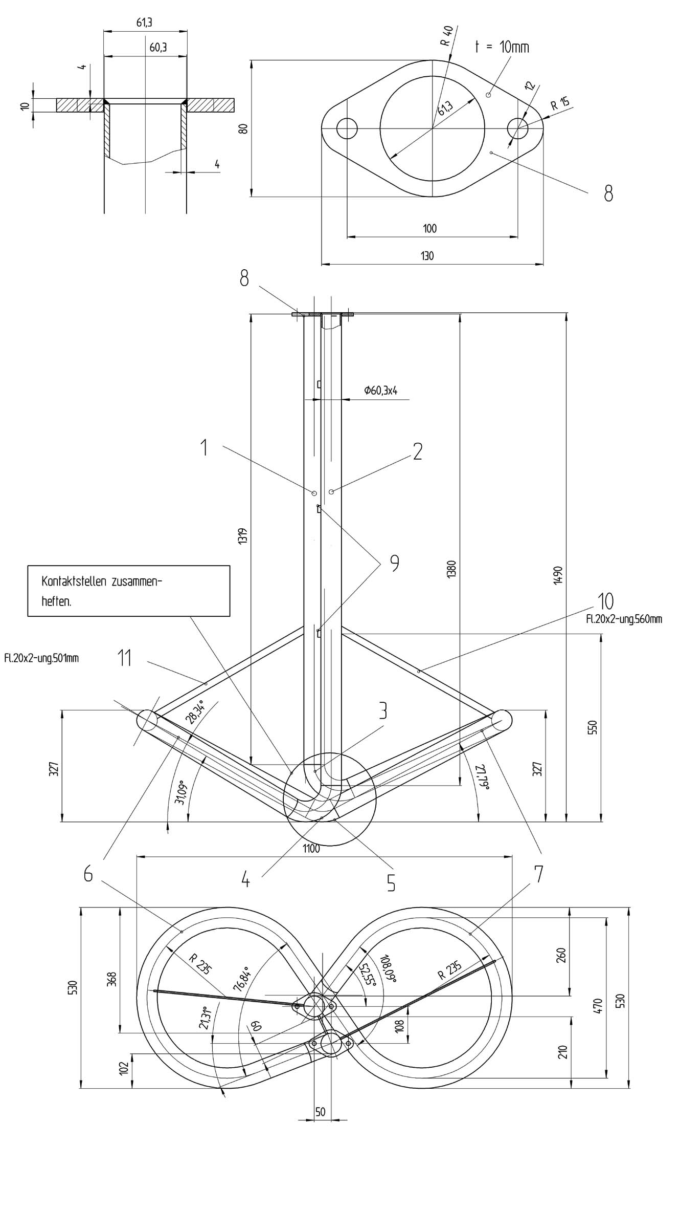
Kühlschrank ist garnicht so schlecht. Ich arbeite in einer Gießerei und dieses Gebilde ist zur Kühlung und Stabilität der Kerne zuständig. Die Kerne werden zur Herstellung von Schiffsmotoren benötigt. Motorengröße ca. 8m x 2.5m x 2.3m. Eine Antwort auf diesen Beitrag verfassen (mit Zitat/Zitat des Beitrags) IP |
Ralf Tide Moderator -
       

 Beiträge: 4999 Registriert: 06.08.2001 Sehr seltsame Dinge passiern <Klaus Lage - Toy Story> .-)
|
erstellt am: 03. Mrz. 2003 15:18 <-- editieren / zitieren --> Unities abgeben:          Nur für Jeans
Zitat: Original erstellt von Jeans: ...von Schiffsmotoren benötigt. Motorengröße ca. 8m x 2.5m x 2.3m.
Hallo Jens, cool  'nur' 8x2.5x2.3m³ ... Ich beschäftige mich gerade mit einem Makro, wofür ich das BG-Modell eines Motors verwende, den ich für meine Gesellenprüfung mal gebaut habe (siehe Bild). Die Bemaßung ist nicht in Metern  Ralf ------------------ Eine Antwort auf diesen Beitrag verfassen (mit Zitat/Zitat des Beitrags) IP |
Dirk Wollborn Mitglied Entwicklungskonstrukteur
 
 Beiträge: 379 Registriert: 31.07.2001
|
erstellt am: 04. Mrz. 2003 08:39 <-- editieren / zitieren --> Unities abgeben:          Nur für Jeans
|